定制橱柜避坑指南,老师傅总结5大关键点,帮你省下上万元
2025.11.28 2 0
定制橱柜时需警惕五大关键问题,避免多花冤枉钱:1. **板材选择**——优先环保实木颗粒板或多层板,警惕低价劣质材料;2. **五金配件**——铰链、滑轨等必须选知名品牌(如百隆、海蒂诗),劣质五金易导致柜门脱落;3. **台面材质**——石英石性价比高,避免选易渗色的廉价人造石;4. **尺寸细节**——提前精确测量厨房空间,注意管道、电器位置的预留,返工成本高;5. **隐形收费**——问清包边、拉篮等附加项价格,合同需标明总价防增项,老师傅提醒:勿贪便宜,细节疏漏可能让总价飙升数万。(字数:198)
刚签完橱柜合同,邻居就因一块板子被加收了3万8,厨房还没开工,预算先塌方。
很多人以为定制橱柜最难的是挑颜色,其实真正烧钱的环节藏在看不见的地方。板材、台面、五金、尺寸、封边,每步都写着加钱项目,稍不留神就触发隐藏账单。见过太多家庭,硬装还没结束,橱柜已经超支四五万,最后只能砍电器补洞。

板材是第一个深坑。销售开口就是实木高端,听完价格直接劝退。实木确实好看,可厨房水汽大,门板弯到合不上是常态,售后只会甩锅使用不当。颗粒板便宜,环保等级却参差不齐,封边一裂就开始掉渣,两年不到就得换。多层实木板算折中方案,握钉力和防潮性都过得去,厚度必须18mm,低于这个数,后期台面一受力就裂。签合同前让商家把板材型号写死,防止工厂临时换便宜料,等发现已经装完,拆都拆不掉。

台面决定未来十年要不要剁骨头都轻手轻脚。大理石纹理天然,却脆得像饼干,铁锅一磕就崩角。不锈钢耐造,可家里不是食堂,划痕一多显得脏兮兮。岩板颜值在线,价格更高,转角处容易爆边,维修一次上千。综合下来,石英石最省心,硬度高、耐酸碱、抗渗透,正常做饭随便造,颜色选麻点款,耐脏不显旧。注意厚度至少1.5cm,背面要垫条,悬空部分超过30cm必须加衬板,否则日后从中间断裂,整片报废。

封边条看起来不起眼,却是蟑螂和潮气的入口。单封边只有一层薄边,潮气顺着缝隙往板子里钻,柜体发胀发霉只是时间问题。双封边多一层防护,最好再带静音阻尼,关门没砰砰声,也能挡住小虫。检验方法很简单,用指甲抠封边接口,一抠就翘的直接退货。封边胶要用PUR热熔胶,遇水不脱落,普通EVA胶半年就开缝,工厂省下的几块钱,日后得用整柜健康买单。

五金件是橱柜的关节,质量差两年就嘎吱响。铰链、滑轨、气撑,全都写进合同,品牌型号一字不差。百隆、海蒂诗一套下来五六百,看着贵,用十年不坏,平均一天不到两毛钱。杂牌铰链单价二十,坏了拆门板得把台面移开,人工费比铰链贵十倍。抽屉选隐藏托底轨,承重力强,拉出来不晃,低抽记得加阻尼,防止关过猛把碗震碎。水槽柜底部装防水铝箔,冷凝水滴不泡板子,成本十块,能省几千换柜体。

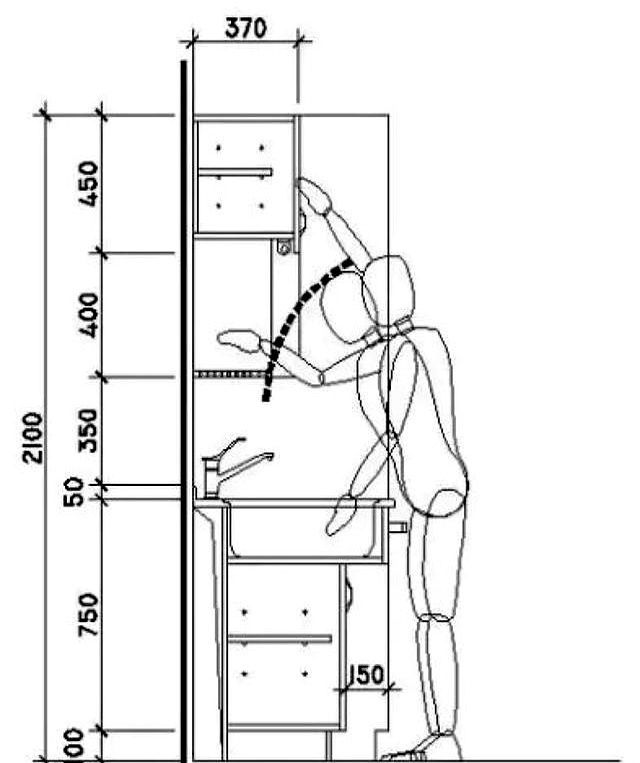
尺寸量错,做饭像受刑。地柜高度按常用者身高÷2+5cm,165cm的人大约83cm,腰不酸,肩不僵。顶柜别做超过35cm深,拿里面的东西得爬台面,深度30cm足够放调料,底部留空55cm,蒸锅、电饭煲塞进去不撞头。灶台区比水槽区低5cm,炒菜胳膊不架空,洗碗腰不弯。烟道两边各留10cm空隙,方便安装止回阀,不然邻居炒辣椒,你家客厅一起呛。嵌入式电器提前买好,把尺寸图交给设计师,等橱柜装好再换型号,边缝能塞手指,逼死强迫症。

报价环节最容易心态爆炸。商家爱用投影面积报低价,等复尺时告诉你抽屉、拉篮、见光面、异形费全部另算,总价瞬间翻倍。让销售一次性列清所有增项,把抽屉数量、拉手款式、台下盆加工费、气撑个数全写进补充协议,口头承诺一律不算。交付周期写死,超期按天扣款,工厂拖工最常见。尾款留10%,安装完验收再付,柜门不齐、封边翘边、台面接缝明显都能压住对方尽快整改。

橱柜进场那天最好亲自在场,核对板材厚度、五金品牌、开孔位置,发现问题当场改,装完再拆代价翻倍。装好后用力摇门板,看铰链底座是否松动;抽屉拉到底,放两桶水测试是否下垂;台面倒点酱油,半小时后擦不掉就说明密度不够。别怕较真,现在麻烦三天,以后省心十年。

有人把橱柜比作厨房的心脏,其实更像钱包的漏斗,每道缝隙都在漏钱。把板材、台面、五金、尺寸、封边五个关键点锁死,预算就能牢牢钉在表格里。装修已经够累了,别让橱柜再掏空一次钱包。
本网站的文章部分内容可能来源于网络,仅供大家学习与参考,如有侵权,请联系站长QQ18376601进行删除处理。

蜀ICP备2021014085号-4